莆田贸易城欢迎您光临:按Ctrl+D把本站加入收藏夹,或保存到桌面,方便下次访问。谢谢!温馨提示:本站目录来源于网络渠道或本地市场,请添加店名片实地详谈。祝您体验愉快! 《不再提示》
黄金展位 虚位以待
QQ:956588114
外贸货源工厂网-莆田贸易城 黄金展位 虚位以待
QQ:956588114
耐特
鞋厂
  类目详细分类
 安福家园资讯
  帅到不行的这双跑鞋,其实藏着Nike第一位签约跑者的故事 2025-06-23
  BYREDO 创始人离任,也带走了那份灵魂感 2025-06-19
  准备好陪你度夏,nanamica x Suicoke 新联名来了 2025-06-16
  AJ14 “法拉利” 11年后回归,红色超跑气场全开 2025-06-12
  浪琴表推出全新先行者系列祖鲁时间1925腕表 2025-06-09
  蓝宝石闪耀,Nike Air Max DN8 华丽变身 2025-06-09
  高圆圆同款!「赤足New Balance」新联名曝光,铺货了 2025-06-05
  悉尼妹洗澡水制成肥皂开启售卖!男粉:这肥皂能吃吗? 2025-06-02
  爱彼史上最值得看的大展!揭秘150年传奇制表背后 2025-05-28
 安福相册新闻
  跑鞋颜值天花板?日常也能帅一脸 2025-06-23
  去年断货的那枚表, CASIO指环表又要发售了 2025-06-23
  atmos x 成龙 官宣,《警察故事》联名短袖公布! 2025-06-19
  乐高确认推出《哥斯拉》积木,这设计也太酷了! 2025-06-19
  帅到不想坐!Tom Sachs x Helinox 这把露营椅太炸了 2025-06-16
  拆开这颗巧克力,居然是皮卡丘? 2025-06-16
  这双Asics也能玩“牛仔感”?TOGA联名即将登场! 2025-06-12
  本田超跑刷新纪录了!700万元成交价 2025-06-12
  跑鞋也要够潮!昂跑 x Slam Jam 联名即将发售 2025-06-09
 莆田贸易城资讯
  跑步装备上新合集,最近有什么可以关注的呢? 2025-06-23
  宝珀经典五十噚家族再添新员 适配所有腕围的38mm小表径腕表亮相 2025-06-23
  全世界最酷的姐姐,和Nike联名的鞋要来了! 2025-06-19
  再次刷新纪录!14只 LABUBU 共拍出240万元 2025-06-19
  Patta x Nike新合作提前泄露,这次的服饰周边也有亮点? 2025-06-16
  男人的钱有多好赚?四个大学生创业卖短裤,年销8个亿! 2025-06-16
  这个优衣库新包,能火起来吗? 2025-06-12
  石头岛 x NB 联名正式公布,三款新配色本月登场! 2025-06-12
  柏金包始祖拍卖来了!价格高到无法想象 2025-06-09
女鞋夏季
 
潮牌
 
十三行朝服
 
服饰箱包
 
 当前位置: 首页 > 新闻中心 > 安福相册新闻 > 南极人拟花5亿元买吊牌,又想收割谁?
  安福相册新闻
    访问量:5360

南极人拟花5亿元买吊牌,又想收割谁?

莆田贸易城报道:http://www.05940001.com   作者:安福家园    时间:2021年11月22日

自家吊牌越来越难卖今后,南极人好像又走上了买吊牌之路。

  日前,南极电商股份有限公司(以下简称“南极电商”)发布布告称,拟以5亿元人 民币收买韩国时髦女装品牌BASIC HOUSE(百家好)、Mind Bridge、JUCY JUDY商标在我国内地、我国香 港和我国澳 门的商标一切权,以及百家好(上海)时装有限公司的100%股权。

  事实上,在此次“买吊牌”之前,南极电商已频频收编海外快时髦品牌商标。一个不行忽视的背景是,曾占有其利 润首要来历的品牌授权生意,近***正不断下滑。

  不难猜测,当“南极人”的吊牌不再“香”了,“贴牌大王”正试图经过海外品牌的“吊牌”再焕活力。

  从十万保 证金,到授权费仅需4000元

  依据南极电商官网发布的《南极电商股份有限公司 关于公司签署意向性协议的布告》,上述商标买卖及相关公司股权转让方为韩国企业TBH GLOBAL、百家好香 港有限公司,前者持有BASIC HOUSE等三个商标在华一切权,后者为百家好上海公司的持有人,买卖两边目前签署的是意向性协议,“终究买卖金额等详细事项由各方另行签署正式协议确定。”

  而“两边原则上同意本买卖的买卖价格为约人 民币 5 亿元。最后依据尽职调查及财物估值陈述,两边认为有必要调整买卖价格,则由两边洽谈后调整买卖价格”。

  要知道,2020年7月南极人发布的2019年报,曾让其被业内称为靠“卖商标”一年收入13亿元。为何从前靠卖“南极人”吊牌就能赚得盆满钵满的南极电商,现在的角色从卖吊牌改动成了下重金买吊牌的?

  从南极电商近期发布的财报中或许能窥得一二。据南极电商此前发布的中报显现,2021年上半年,南极电商完成营收16.61亿元,去年同期为16.26亿元,同比小幅增长2.15%;上半年南极电商归属于上市公司股东的净利 润为2.46亿元,较去年同期的4.31亿元下降42.85%,降幅较大。
莆田安福相册货源

  而关于营收增幅较小及净利 润下降,南极电商称首要受公司本部事务的影响,陈述期内公司本部事务营收有所下降。据“雷达财经”,南极电商的公司本部事务,首要就是以电商渠道为主,基于品牌授权事务,整合供应链上、中、下游资源打开的事务,即外界所说的以“贴牌”为主的事务。

  虽然贴牌生意仍在公司营收中占比较大,但从其授权经销商和供货商的数据来看,其贴牌事务的确不太达观。

  截至上述陈述期末,南极电商公司本部旗下数据营销渠道共有7943家授权经销商,产业链服务渠道具有1730家授权供货商。而在2020年7月发布的年报中,其当时共有4513家合作经销商,5800家授权店肆和1113家供货商。从供货商的数量来看,就能发现,其增速并不算快。

  而锌刻度也曾在《买“南极人”吊牌的厂商们,赚到钱了吗?》一文中提及,关于厂商和顾客而言,“南极人”吊牌都正逐步丧失魅力,不少曾购买过南极人商标的厂商,慢慢挑选了违背。

  究竟,伴随着品牌的授权扩张脚步越走越远,其问题越来越多。

  秦月所运营的内衣厂在2013年前后购买了“南极人”的授权商标,但从2017年开端,她便感触到了这一形式的弊端,“虽然咱们有着品牌背书,可是因为品牌方授权的店肆真实太多,品牌的可信度其实现已逐步降低了,加上品牌很难对授权店肆逐个进行质量上的管控,一旦有一家店肆出了问题,我们都会受到影响。”

  “一颗老鼠屎坏了一锅汤。”秦月表明,近年来经过媒体曝光,许多顾客发现了品牌授权的生意门道,“对品牌的信赖度和好感度就显着下降。”

  2020年开端,秦月便开端打造自己的品牌店肆,现在她的内衣厂早已不再需求“南极人”的商标。

  顾客们也越来越只怕避之不及。据锌刻度不完全统计,2018年以来,南极人现已10余次登上国家质监部门及当地顾客协会的不合格产品“黑名单”,从蚕丝被、内衣、童装、冲锋衣到电推剪、按 摩棒,均有产品上了质检“黑榜”。

  而在2020年发布的《2019年第二批网售产品质量国家监督专项检查不合格产品及企业名单》,南极人牌游览箱包也名列其间;2021年头商场监管总局安排展开的儿童及婴幼儿服装等34种产品质量国家监督检查中,南极人服饰旗舰店下的产品再次出现在名单之中。

  “现在‘南极人’这商标成了筛选器,关于南极人的产品一律不买。”面对“南极人”良莠不齐的出产端,有顾客如此表明。

  锌刻度注意到,南极人的授权费用也有所变化。在2020年进行调查时,南极人的天猫店授权需求交纳10万元保 证金,而一个标的价格为8元。而日前一位品牌招商负责人告诉锌刻度,目前在天猫和拼多多的授权费用为4000元一年,拼多多的根底内衣和保暖内衣的商标单价分别为3.5元和4.5元。

  “百家好们”能让南极电商“好”起来吗?

  “因内容电商的鼓起,一些著 名的、有个性的品牌价值突显,收买此类品牌有助于搭建公司品牌体系;同时,因公司在研制、出产、质量管理上存在一定的短板,而百家好(上海)时装有限公司在研制、出产、质量管理上有较强的优势,能较好的弥补公司这些方面的短板。”在上述南极电商发布的布告中,这是南极电商和百家好买卖的目的。

  明显,南极电商也察觉到了自家吊牌的窘境,并试图经过购买其 他品牌来重焕活力。

  而在这之前,南极电商还宣告成为“C&A”品牌线上事务唯 一合作伙伴。南极电商经过与“C&A”在华地区商标持有人C&A(我国)一起出资建立合资公司,取得“C&A”商标在我国区线上事务的合法授权。

  不过,“百家好们”真能让南极电商“好”起来吗?或许并没有那么达观。

  以百家好为例,百家好是韩国快时髦巨子TBH Global Co.(以下简称“TBH Global ”)在华全资子公司,主攻生活休闲类服饰以及相应调配的饰品、鞋类等。旗下品牌包含Basic House、MindBridge等。2004年,百家好在上海建立,并开设首家Basic House女装品牌门店进入我国商场。

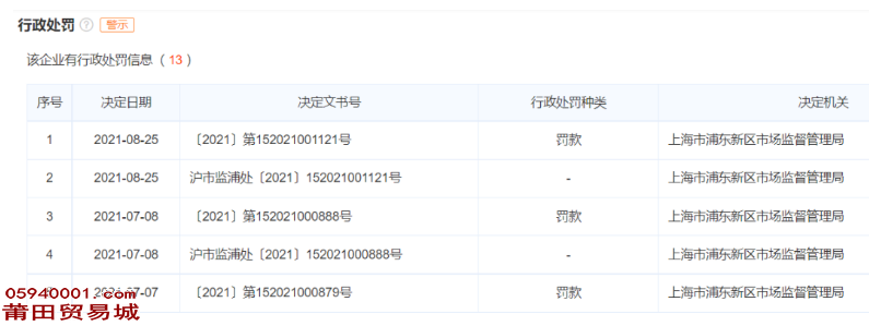
  而就在几个月前, Basic House品牌相关公司百家好(上海)时装有限公司还刚因出售不合格产品被处罚。据爱企查的工商信息,在进入我国商场十多年的时间里,百家好行政处罚数量已累计达13次,处罚金额约达41.99万元。

莆田安福

  其间,2021年,百家好因以不合格产品假充合格产品、违反利用广告对产品或服务做虚假宣扬诈骗和误导顾客等因素,被上海市浦东新区商场监督管理局行政处罚3次。

  而百家好在国内商场频繁被罚的同时,其韩国母公司TBH Global也面临着成绩亏损、债款等问题。北京商报曾报道称,TBH Global 2018年亏损577亿韩元;2020年亏损19.82亿韩元;2021年上半年亏损31.01亿韩元。

  事实上,近年来,世界时髦连锁品牌在我国商场的处境都不算达观,且已有多个品牌宣告退出我国。

  其间,包含还没来得及开实体店,就已封闭天猫旗舰店的美国时髦品牌Urban Outfitters;界面新闻则曾报道称,快时髦品牌Zara的的姊 妹品牌Bershka、Pull&Bear和Stradivarius也在2021年中前全面退出我国线下商场……

  “百家好刚进入我国商场时,恰逢韩潮鼓起时,所以最初势头不小,也开了不少实体店。可是这么多年过去,一是大环境和潮流风向的改动,二是消费集体的改动,都让百家好这个品牌距离商场现已比较远了。”一名服装行业的出售负责人告诉锌刻度,尤其是眼下鼓起了许多更受年轻人欢迎的小众品牌后,这些比较传统的品牌被忘记也是大势所趋。

  从这个视点来看,南极人活跃收编海外时髦品牌“百家好们”,好像并不算一门稳 赚不赔的好生意。

  南极电商为何总和“吊牌”过不去?

  虽然百家好的品牌价值或许并不如南极人想象中那般满意,但布告显现,两边买卖完成后,南极电商会立即向TBH GLOBAL、其相关公司以及受托加工方“无偿授权许可标的商标的使用权。”

莆田安福

  不过,南极电商也并没把一切鸡蛋都放进一个篮子,除了收编海外品牌,还把一只脚伸进了跨境电商商场。

  据界面新闻报道,本年5月11日,南极电商在投资者会议上首 次宣告跨境电商新项目Fommos。南极电商董事长张玉祥当时表明,该跨境电产品牌“预计7月左右上线。”

  从以上种种行动中可以看出,南极电商现已在测验跳出“吊牌生意”的窘境,寻觅新的利 润增长点。可是,依据眼下来看,南极电商在短期内应该仍是会被困于“买卖吊牌”的单调叙事中。

  正如同样玩过贴牌生意这一套的世界服装品牌皮尔·卡丹,伴随着其品牌授权规模不断扩大,品类越来越多,品控越来越难,终究“从一个高不行攀的顶 级奢侈品品牌变成了真假难辨的街头品牌,品牌价值丢失严重。”

  据媒体报道,在2011年,皮尔·卡丹曾试图报价10亿欧元卖掉自己的品牌和公司,华尔街日报分析评价称其实践价值不足2亿,终究出售也不了了之。

  说到底,品牌财物是“品牌授权”这种商业形式的源头,假如源头的价值不断贬值,积累的口碑与情怀被不断耗费,那么厂商们天然也只能“坐吃山空”。

  从这一视点来看,南极电商在多年“卖吊牌”的生意中,现已让“南极人”的价值耗费殆尽,而眼下其想要买下的“百家好”吊牌,是否能再赋予南极电商新的价值,也尚存疑问。


上一篇: 潮流的本质就是欲望收割机!
下一篇: “人才·南平校园行” 活动落下帷幕


友情链接
PR需大于等于3,有意链接者加QQ联系
安福家园,莆田安福相册,莆田安福,安福家园相册'安福商贸城,安福电商城,莆田商贸城,仙游家具城,红木家具城,佛珠小件,黄石鞋贸城,安福搜搜

莆田贸易城是最有名的鞋服城市场05940001,云集莆田安福万千商家, 是货源最齐全的安福家园相册网,批发莆田安福各类优质鞋,包包,服饰,球衣,莆田安福最好的货源商家,安福批发,安福搜搜, 莆田电商城, 莆田鞋服城,莆田安福家园,莆田安福市场,安福网址导航,莆田外贸,莆田贸易城拥有莆田安福最齐全的商家资料。在这里可以找到安福所有产品批发商,为您解决一切货源问题。莆田贸易城是您最真诚的朋友。

Copyrights(c)2007-2025 莆田贸易城 AllrightsReservered.
bet365 明升 闽ICP备17017914号
值班QQ:956588114
福建盛天网络科技[]